編輯:北京凌鷹起重 瀏覽:12425 時間:2014-09-23
在前面的文章中介紹過關(guān)于鋼絲繩電動葫蘆工作原理的第一點起升機構(gòu),然后本文繼續(xù)介紹剩余的幾點。
2、運行機構(gòu)
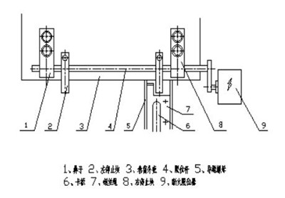
CD1、MD1型電動葫蘆運行機構(gòu)采用ZDY1。型錐形轉(zhuǎn)子電動機驅(qū)動,經(jīng)過兩級齒輪減速,驅(qū)使主動車輪運行。參見圖9。圖9、CD1、MD10.5~20噸電動葫蘆運行機構(gòu) 機構(gòu)原理示意圖



公司地址:北京市昌平區(qū)東小口
聯(lián)系電話:400-0126-008 傳真:010-65800835
郵箱:beijinglingying@126.com
郵編:102200 網(wǎng)站地圖
